宁德时代获得实用新型专利授权:“电池装置及用电装置”
2025年01月04日 | 小微 | 浏览量:60512

图片来源于网络,如有侵权,请联系删除
证券之星消息,根据天眼查APP数据显示宁德时代(300750)新获得一项实用新型专利授权,专利名为“电池装置及用电装置”,专利申请号为CN202422524694.0,授权日为2025年1月3日。
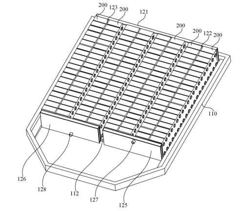
专利摘要:本申请提供了一种电池装置及用电装置。电池装置包括电池单体和汇流部件。电池单体包括电极端子。汇流部件包括汇流主体以及导电部,汇流主体焊接于电极端子,电极端子的基体金属与汇流主体的基体金属相同,汇流主体设有凹部,导电部与汇流主体层叠并连接设置于凹部内,导电部的电导率大于汇流主体的电导率。本申请能够提高电池装置的可靠性。

图片来源于网络,如有侵权,请联系删除
今年以来宁德时代新获得专利授权63个,较去年同期增加了43.18%。结合公司2024年中报财务数据,2024上半年公司在研发方面投入了85.92亿元,同比减12.77%。

图片来源于网络,如有侵权,请联系删除
数据来源:天眼查APP
以上内容为证券之星据公开信息整理,由智能算法生成(网信算备310104345710301240019号),不构成投资建议。
版权声明
本文仅代表作者观点,不代表xx立场。
本文系作者授权xxx发表,未经许可,不得转载。
